在上一篇文章中,小编为您详细介绍了关于《微软 Win10 相机 App 更换全新流畅设计图标》相关知识。本篇中小编将再为您讲解标题新专利显示苹果汽车可能采用特斯拉式感应电动机。
本文来自cnBeta.COM
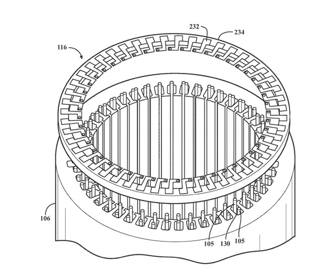
尽管提交了法律要求的文件,而且还提交了无数关于内饰和外观的专利,但苹果仍然不会说自己在制造汽车。但是,专利号10,630,127,题为 “带棒状绕线定子和端头冷却的电动机 ”的美国专利,显示苹果公司正在研发一款适合苹果汽车的三相交流感应电机,采用与特斯拉相同的基本工程和电机设计原理。
该专利特别详细介绍了一种三段式交流感应电机,这只是汽车可能的几种电机系统中的一种。不过,它使用的是与特斯拉相同的松鼠笼式电机技术。苹果之所以会专门选择这种技术,也是出于和特斯拉一样的原因。它可以在电压/频率可控的情况下产生较高的启动力矩,价格更便宜,而且在崎岖的地形上也很有用。与永磁驱动等相比,这类电机的寿命也可以预期,需要的维护费用较少。
相比之下,福特和日产的混合动力汽车使用的是永磁同步电机。它们比感应电机效率更高,但成本更高,需要更多的维护。此外,它们的磁铁往往会随着时间的推移而磨损,需要更换。选择三相异步电动机,可能是因为这种技术的制造成本相对较低,不需要太多维护,而且在控制电压/频率时,可以产生较高的启动转矩。如果控制得当,三相交流感应电机的效率可以达到90%。问题在于这种控制的复杂性,尽管专利中没有明确详细说明苹果公司的处理系统。
相反,苹果公司的专利集中在电机技术与发动机散热方法的搭配上。专利显示,冷却结构与上部外环表面或下部外环表面中的至少一个处于导热关系,用于接收来自端部转环的热量。


编后语:关于《新专利显示苹果汽车可能采用特斯拉式感应电动机》关于知识就介绍到这里,希望本站内容能让您有所收获,如有疑问可跟帖留言,值班小编第一时间回复。 下一篇内容是有关《S19王者荣耀高端局射手排行榜,后羿落寞,低端局她少有出场!》,感兴趣的同学可以点击进去看看。
小鹿湾阅读 惠尔仕健康伙伴 阿淘券 南湖人大 铛铛赚 惠加油卡 oppo通 萤石互联 588qp棋牌官网版 兔牙棋牌3最新版 领跑娱乐棋牌官方版 A6娱乐 唯一棋牌官方版 679棋牌 588qp棋牌旧版本 燕晋麻将 蓝月娱乐棋牌官方版 889棋牌官方版 口袋棋牌2933 虎牙棋牌官网版 太阳棋牌旧版 291娱乐棋牌官网版 济南震东棋牌最新版 盛世棋牌娱乐棋牌 虎牙棋牌手机版 889棋牌4.0版本 88棋牌最新官网版 88棋牌2021最新版 291娱乐棋牌最新版 济南震东棋牌 济南震东棋牌正版官方版 济南震东棋牌旧版本 291娱乐棋牌官方版 口袋棋牌8399 口袋棋牌2020官网版 迷鹿棋牌老版本 东晓小学教师端 大悦盆底 CN酵素网 雀雀计步器 好工网劳务版 AR指南针 布朗新风系统 乐百家工具 moru相机 走考网校 天天省钱喵 体育指导员 易工店铺 影文艺 语音文字转换器