在上一篇文章中,小编为您详细介绍了关于《国家邮政局:上半年快递企业日均服务用户超3.7亿人次》相关知识。本篇中小编将再为您讲解标题继华为三星之后,苹果研发“无刘海”折叠手机,果粉终于等到了!。
原标题:继华为三星之后,苹果研发“无刘海”折叠手机,果粉终于等到了!
众所周知,目前折叠屏手机的市场只有华为三星有具体的产品问世。在这个领域,大家同样对苹果有着不少的期待,而现在终于有好消息了。
近日,据屏幕研究机构DSCC的CEO指出,苹果正在打造的全新折叠屏手机将不会采用塑料(CPI,聚酰亚胺)来覆盖折叠屏,而是UTG(超薄玻璃),方案商来自康宁。
已经进入选择屏幕方案阶段,相信苹果折叠屏手机并非纸上谈兵了。
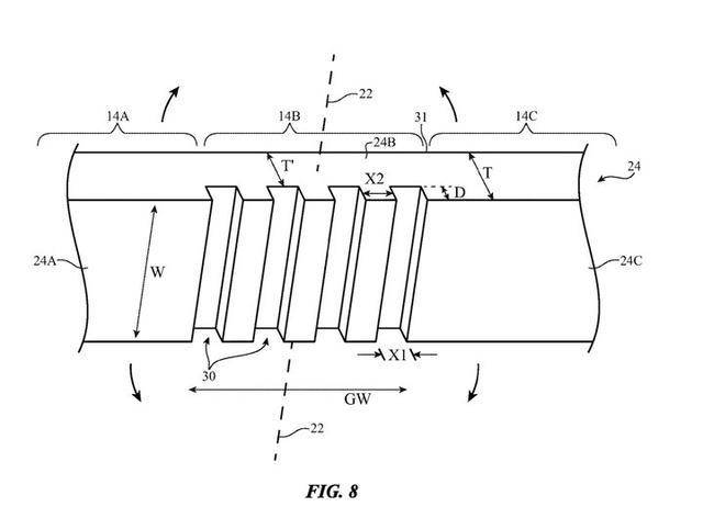
早前,也曾有外媒报道称,苹果在今年三月份申请的一项可折叠设备设计专利,这个专利主要通过一种特殊的柔性屏幕设计方法来解决一些折叠屏的通病,比如屏幕弯折处。

目前,折叠屏手机都有不错的折叠效果,但长时间使用后,中间的弯折处非常容易造成折痕和断裂,相当影响观感以及体验。

根据苹果的专利图来看,苹果希望能够在柔性屏幕折叠处的里侧切割出一系列凹槽,并使用和屏幕原材质折射率相同的弹性聚合物或液体填充凹槽。简单来说,当我们合上折叠屏手机的时候,这一填充物会被压缩在其中,而展开时则会膨胀开来,覆盖在凹槽处,不会产生折痕等影响。

同时爆料称,苹果的折叠屏方案将去除掉刘海设计,但在显示屏外侧有一个 "小小的额头"用于Face ID,机身设计会类似于iPhone 11比较圆润,有望在2021年问世,起步价预计在2万元左右。
值得一提,已经发布了首款折叠屏手机Mate Xs的华为即将迎来续作Mate V。

与前代不同的是,Mate V或将采用与三星Galaxy Flip类似的上下折叠设计,网友根据专利制作了渲染图(如下)。

折叠后的外观相比普通智能手机要短近一半,相机模组将安置在其中一面,另外还有一个小巧的副屏,能够在待机时显示各种信息。

当下,影响折叠屏的并不是硬件,而是转轴、屏幕盖板等技术极为复杂的部件。不过,经过一年的研发,相信华为的折叠屏技术将更加精进。据悉,华为Mate V将会与华为Mate40系列一起发布,搭载麒麟1020处理器,售价预估16999元起步。
毫无疑问,可折叠手机兼顾了便携性和大尺寸,唯一的缺点可能是早期售价普遍较昂贵,但相信在众多手机厂商参与进来之后,在技术成熟之下,折叠屏手机将极有可能是智能手机行业的下一个爆发点。游戏网
编后语:关于《继华为三星之后,苹果研发“无刘海”折叠手机,果粉终于等到了!》关于知识就介绍到这里,希望本站内容能让您有所收获,如有疑问可跟帖留言,值班小编第一时间回复。 下一篇内容是有关《魔爪Mini-P详细测评:900克载重能挂微单,千元级视频神器》,感兴趣的同学可以点击进去看看。
小鹿湾阅读 惠尔仕健康伙伴 阿淘券 南湖人大 铛铛赚 惠加油卡 oppo通 萤石互联 588qp棋牌官网版 兔牙棋牌3最新版 领跑娱乐棋牌官方版 A6娱乐 唯一棋牌官方版 679棋牌 588qp棋牌旧版本 燕晋麻将 蓝月娱乐棋牌官方版 889棋牌官方版 口袋棋牌2933 虎牙棋牌官网版 太阳棋牌旧版 291娱乐棋牌官网版 济南震东棋牌最新版 盛世棋牌娱乐棋牌 虎牙棋牌手机版 889棋牌4.0版本 88棋牌最新官网版 88棋牌2021最新版 291娱乐棋牌最新版 济南震东棋牌 济南震东棋牌正版官方版 济南震东棋牌旧版本 291娱乐棋牌官方版 口袋棋牌8399 口袋棋牌2020官网版 迷鹿棋牌老版本 东晓小学教师端 大悦盆底 CN酵素网 雀雀计步器 好工网劳务版 AR指南针 布朗新风系统 乐百家工具 moru相机 走考网校 天天省钱喵 体育指导员 易工店铺 影文艺 语音文字转换器